對空壓機節能系統有需求的用戶,一定都知道在一套完整的系統中,空壓機和儲氣罐都是必備的一部分。作為了解這些主要部分的重要來源,設計圖紙一般是能夠起到幫助用戶快速理解儲氣罐或空壓機結構的一個很好方式。但在與很多用戶的交流過程中,多數人對于儲氣罐的圖紙缺乏相關的概念。甚至有一部分采購設備的用戶都沒有見過儲氣罐圖紙。在本篇分享中,本人將會為大家介紹一張完整的儲氣罐圖紙中存在的具體參數。
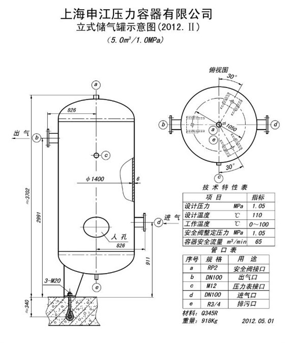
鑒于市面上儲氣罐廠家形形色色的圖紙比較多,在本篇分享中本人選擇了銷量主流的申江儲氣罐廠家圖紙作為參考的依據。如圖是一張申江真空罐子的設計條件確認圖。圖紙將儲氣罐各個部分的尺寸都標得很清楚(俯視圖和主視圖)
在圖紙中,一般會羅列一些關鍵的并具有代表性的參數。比如說設計壓力和溫度、工作壓力和溫度,這一部分的技術屬性歸類于儲氣罐運行的環境條件,而工作應用的介質要標明是否有毒性,是否易燃易爆等等。而儲氣罐本身的容積大小以及耐腐蝕性、設計年限也是需要標示的。
在圖紙的最后會有一些相關的管路規格等等,這個大部分廠家是會標的,細心的廠家還會標明一些注意事項,方便用戶進行操作。
基本上一張比較完備的儲氣罐圖紙都會有這些內容。儲氣罐的圖紙介紹到此告一段落,之后本人會給大家帶來更多儲氣罐以及壓力容器行業相關的知識。
文章來源:申江儲氣罐廠家 http://www.sztxjs.com
400-823-6116

0.1m3-1.0m3儲氣罐
1.5m3-8.0m3儲氣罐
10m3-20m3儲氣罐